- 128, 6A, Gero Stalingrada Ave., Kiev, Ukraine
- +380 (44) 4283598 (tele)
- [email protected]
|
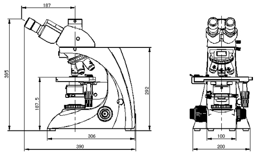
SRB-500 Series Biological Microscope |
|||||||||||||||||||||||||||||||||||||||||||||||||||||||||||||||||||||||||||||||||||||||||||||||||||||||||||
|
|||||||||||||||||||||||||||||||||||||||||||||||||||||||||||||||||||||||||||||||||||||||||||||||||||||||||||
|
|||||||||||||||||||||||||||||||||||||||||||||||||||||||||||||||||||||||||||||||||||||||||||||||||||||||||||
Note: “ ● ” In Table Is Standard Attachment. “ ○ ” Is
Optional Accessories
|
|||||||||||||||||||||||||||||||||||||||||||||||||||||||||||||||||||||||||||||||||||||||||||||||||||||||||||
For more than 20 years SRS is a leading manufacturer of liquid handling instruments, microscope, Venous Blood Collection and plastic laboratory products worldwide. More...
Ut enim ad minima veniam, quis nostrum exercitationem ullam corporis suscipit laboriosam, nisi ut aliquid ex ea commodi consequatur? Quis autem vel eum iure reprehenderit qui in ea voluptate velit esse quam nihil molestiae consequatur, vel illum qui dolorem eum fugiat quo voluptas nulla pariatur. " Quis autem vel eum iure reprehenderit qui in ea voluptate velit esse quam nihil molestiae consequatur.